Chapter 10: Fluids
Q19P
(II) How high would the atmosphere extend if it were of uniform density throughout, equal to half the present density at sea level?
Q19Q
Roofs of houses are sometimes 鈥渂lown鈥 off (or are they pushed off?) during a tornado or hurricane. Explain using Bernoulli鈥檚 principle.
Q1MCQ
You hold a piece of wood in one hand and a piece of iron in the other. Both pieces have the same volume, and you hold them fully under water at the same depth. At the moment you let go of them, which one experiences the greater buoyancy force?
(a) The piece of wood.
(b) The piece of iron.
(c) They experience the same buoyancy force.
(d) More information is needed.
Q1P
(I) The approximate volume of the granite monolith known as El Capitan in Yosemite National Park (Fig.10鈥47) is about 108M3. What is its approximate mass?

Q1Q
If one material has a higher density than another, must the molecules of the first be heavier than those of the second? Explain.
Q20P
(II) Determine the minimum gauge pressure needed in the water pipe leading into a building if water is to come out of a faucet on the fourteenth floor, 44 m above that pipe.
Q20Q
Explain how the tube in Fig. 10鈥45, known as a siphon, can transfer liquid from one container to a lower one even though the liquid must flow uphill for part of its journey. (Note that the tube must be filled with liquid to start with.)

Q21P
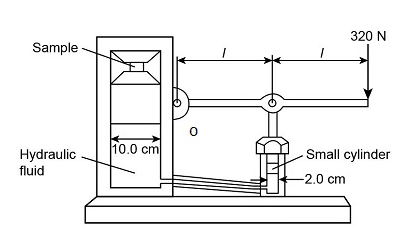
(II) A hydraulic press for compacting powdered samples has a large cylinder that is 10.0cm in diameter, and a small cylinder with a diameter of 2.0 cm (Fig. 10鈥51). A lever is attached to the small cylinder as shown. The sample, which is placed on the large cylinder, has an area of 4.0 cm2. What is the pressure on the sample if 320N is applied to the lever?

Q21Q
When blood pressure is measured, why must the arm cuff be held at the level of the heart?
Q22P
(II) An open-tube mercury manometer measures the pressure in an oxygen tank. When the atmospheric pressure is 1040 m bar, what is the absolute pressure (in Pa) in the tank if the height of the mercury in the open tube is (a) 18.5cm higher, (b) 5.6cm lower than the mercury in the tube connected to the tank? See Fig. 10鈥7a.
