Chapter 10: Q21P (page 260)
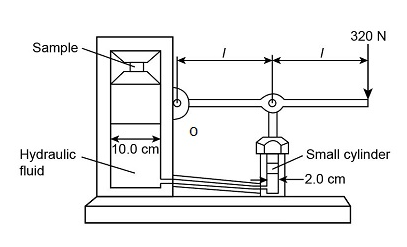
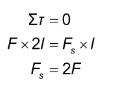
(II) A hydraulic press for compacting powdered samples has a large cylinder that is 10.0cm in diameter, and a small cylinder with a diameter of 2.0 cm (Fig. 10鈥51). A lever is attached to the small cylinder as shown. The sample, which is placed on the large cylinder, has an area of 4.0 cm2. What is the pressure on the sample if 320N is applied to the lever?

Short Answer
The pressure on the sample is 40脳 106 Pa.



