Chapter 19: Q23Q (page 796)
A desk lamp that plugs into a wall socket can use a or a light bulb. Which bulb has the larger resistance? Explain briefly.
Short Answer
The bulb has the larger resistance.
/*! This file is auto-generated */ .wp-block-button__link{color:#fff;background-color:#32373c;border-radius:9999px;box-shadow:none;text-decoration:none;padding:calc(.667em + 2px) calc(1.333em + 2px);font-size:1.125em}.wp-block-file__button{background:#32373c;color:#fff;text-decoration:none}
Learning Materials
Features
Discover
Chapter 19: Q23Q (page 796)
A desk lamp that plugs into a wall socket can use a or a light bulb. Which bulb has the larger resistance? Explain briefly.
The bulb has the larger resistance.
All the tools & learning materials you need for study success - in one app.
Get started for free
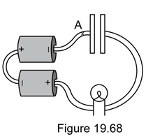
The capacitor in Figure 19.68 is initially uncharged, then the circuit is connected. Which graph in Figure 19.66 best describes the magnitude of the net electric field at location A (inside the connecting wire) as a function of time?


Which of the following are ohmic resistors? For those that aren鈥檛, briefly state why they aren鈥檛. (a) Nichrome wire, (b) a thin filament light bulb, (c) a plastic rod, (d) salt water, (e) silicon (a semiconductor)
Which of the following statements about the discharging of a capacitor through a light bulb are correct? Choose all that are true. (1) The fringe field of the capacitor decreases as the charge on the capacitor plates decreases. (2) Electrons flow across the gap between the plates of the capacitor, thus reducing the charge on the capacitor. (3) The electric field at a location inside the wire is due to charge on the surface of the wires and charge on the plates of the capacitor. (4) Electrons in the wires flow away from the negative plate toward the positive plate, reducing the charge on the plates.
Two resistor each with resistance of are connected in series to a 60 V power supply whose internal resistance is negligible. You connect the voltmeter across one of these resistors and this voltmeter has an internal resistance of . What is the reading on the voltmeter?
State whether the following statement is true or false, and briefly explain why: 鈥淚n the two circuits shown in Figure 19.64, the battery output power is greater in circuit 2 because there is an additional resistor dissipating power.鈥

What do you think about this solution?
We value your feedback to improve our textbook solutions.